マリン用品の通販王
ネオネットマリンWEB本店


HOME

■純正部品

 > 

ヤマハ

 > 

4

 > 
4AC 2004 6E03
  • トップカウリング

    トップカウリング

  • シリンダ, クランクケース

    シリンダ, クランクケース

  • インテーク

    インテーク

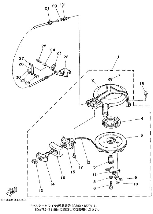
  • スタータ

    スタータ

  • ゼネレータ

    ゼネレータ

  • エレクトリカル

    エレクトリカル

  • ボトムカウリング

    ボトムカウリング

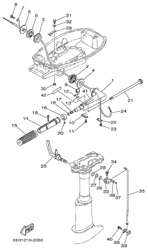
  • コントロール

    コントロール

  • アッパーケーシング, ブラケット

    アッパーケーシング, ブラケット

  • ロワーケーシング, ドライブ

    ロワーケーシング, ドライブ

  • リペアキット

    リペアキット

ページトップへ