マリン用品の通販王
ネオネットマリンWEB本店


HOME

■純正部品

 > 

シードゥー

 > 

SP / SPI

 > 
SP 1997 5879
  • クランクケース, ロータリーバルブ(717)

    クランクケース, ロータリーバルブ(717)

  • クランクシャフト, ピストン(717)

    クランクシャフト, ピストン(717)

  • シリンダー, エキゾーストマニホールド(717)

    シリンダー, エキゾーストマニホールド(717)

  • マグネット(717)

    マグネット(717)

  • スターター

    スターター

  • エンジンサポート, マフラー(717)

    エンジンサポート, マフラー(717)

  • エレクトリカルボックス

    エレクトリカルボックス

  • エレクトリカル システム

    エレクトリカル システム

  • エレクトリカルアクセサリー

    エレクトリカルアクセサリー

  • 配線コネクター

    配線コネクター

  • エレクトリカルハーネス

    エレクトリカルハーネス

  • オイルインジェクション システム

    オイルインジェクション システム

  • オイルインジェクションポンプ

    オイルインジェクションポンプ

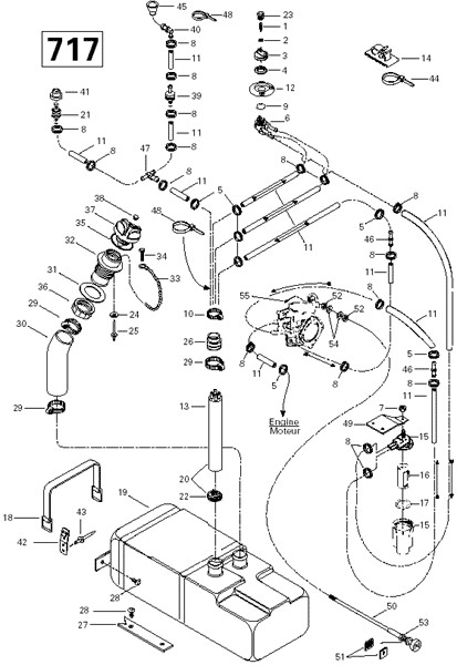
  • フューエル システム(717)

    フューエル システム(717)

  • エアーインテーク システム

    エアーインテーク システム

  • キャブレター(717)

    キャブレター(717)

  • ドライブ システム

    ドライブ システム

  • ジェットポンプ

    ジェットポンプ

  • ステアリング

    ステアリング

  • シート, エンジンカバー

    シート, エンジンカバー

  • フロントストレージコンパートメント

    フロントストレージコンパートメント

  • ボディ1

    ボディ1

  • ボディ2

    ボディ2

  • デカール

    デカール

ページトップへ