マリン用品の通販王
ネオネットマリンWEB本店


HOME

■純正部品

 > 

カワサキ

 > 

ウルトラLX

 > 
ウルトラ LX 2010 JT1500GAF
  • メンテナンス / 純正OEM

    メンテナンス / 純正OEM

  • パーツ&アクセサリー

    パーツ&アクセサリー

  • シリンダヘッド

    シリンダヘッド

  • シリンダヘッドカバー

    シリンダヘッドカバー

  • シリンダ、ピストン

    シリンダ、ピストン

  • エアクリーナー

    エアクリーナー

  • マフラ

    マフラ

  • バルブ

    バルブ

  • カムシャフト、テンショナ

    カムシャフト、テンショナ

  • クランクシャフト

    クランクシャフト

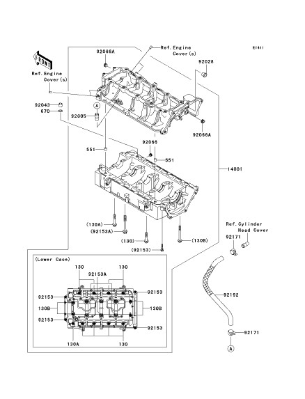
  • クランクケース

    クランクケース

  • エンジンカバー

    エンジンカバー

  • オイルパン

    オイルパン

  • スロットル

    スロットル

  • フューエルポンプ

    フューエルポンプ

  • フューエルインジェクション

    フューエルインジェクション

  • オイルポンプ

    オイルポンプ

  • ゼネレータ

    ゼネレータ

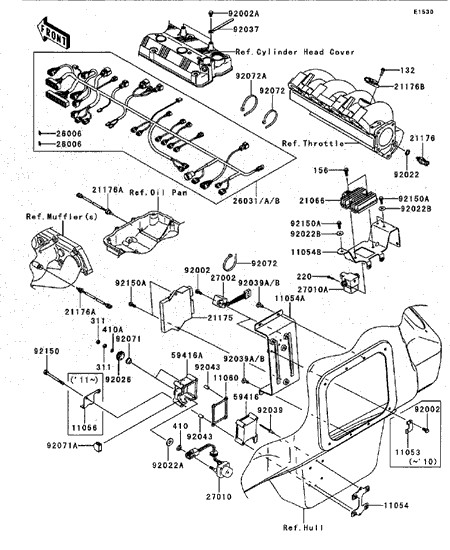
  • イグンションシステム

    イグンションシステム

  • スタータモータ

    スタータモータ

  • クーリング

    クーリング

  • ドライブシャフト

    ドライブシャフト

  • ジェットポンプ

    ジェットポンプ

  • ハル

    ハル

  • ハル、フロントフィッティング

    ハル、フロントフィッティング

  • ミドルフィッテイング

    ミドルフィッテイング

  • ハルリヤフィッテイング

    ハルリヤフィッテイング

  • エンジンマウント

    エンジンマウント

  • ビルジシステム

    ビルジシステム

  • シート

    シート

  • パッド

    パッド

  • ハンドルポール

    ハンドルポール

  • ハンドルバー

    ハンドルバー

  • フューエルタンク

    フューエルタンク

  • ケーブル

    ケーブル

  • メータ

    メータ

  • 船体電装品

    船体電装品

  • オーナーズツール

    オーナーズツール

  • ラベル

    ラベル

  • デカール(ホワイト)

    デカール(ホワイト)

ページトップへ